Cách cài đặt webcam Logitech C925e chi tiết nhất
Webcam Logitech C925e với chất lượng video full HD với tốc độ 30 khung hình/giây. Có khả năng zoom kỹ thuật số, tự động lấy nét, tích hợp 2 micrô đa hướng và điều chỉnh ánh sáng RightLight 2. Vậy việc cài đặt webcam Logitech C925e cho phòng họp trực tuyến có phức tạp không? Hãy cũng tìm hiểu chi tiết trong bài viết dưới đây.
Tổng quan về webcam Logitech C925e



Quy cách đóng gói Logitech C925e
- Webcam có cáp USB-A dài 6 ft (1,83 m) đi kèm
- Tài liệu người dùng

Kiểm soát bộ lắp đặt quyền riêng tư
- C925e được thiết kế với màn trập riêng tư tích hợp. Thanh trượt để mở/ đóng cửa trập nằm ở phía trên của webcam, ngay phía trên ống kính máy ảnh.

- Để mở màn trập riêng tư, hãy di chuyển thanh trượt sang trái.

- Để đóng cửa trập riêng tư và che ống kính, hãy di chuyển thanh trượt sang bên phải. Ống kính sẽ có màu trắng khi đóng màn trập riêng tư.

Thiết lập webcam Logitech C925e
Để đặt trên màn hình
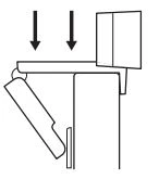
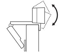
- Đặt webcam của bạn trên máy tính, máy tính xách tay hoặc màn hình ở vị trí hoặc góc độ mà bạn mong muốn.

- Điều chỉnh webcam để đảm bảo chân trên kẹp gắn đa năng nằm ngang với mặt sau thiết bị của bạn.

- Điều chỉnh webcam lên/ xuống theo cách thủ công đến vị trí tốt nhất để tạo khung hình cho chính bạn.

Để đặt trên giá ba chân *
- Xác định vị trí sợi dây ba chân ¼ inch ở phía dưới cùng của kẹp gắn đa năng.

- Giữ chặt webcam trên giá ba chân của bạn bằng cách vặn nó vào sợi chỉ ¼ inch.

- Đặt webcam của bạn cùng với giá ba chân ở bất kỳ đâu bạn muốn đến vị trí tốt nhất để tạo khung hình cho chính mình.

Kết nối webcam qua USB-A
Cắm đầu nối USB-A vào cổng USB-A trên máy tính của bạn.

Kết nối thành công
Đèn LED hoạt động sẽ sáng khi ứng dụng đang sử dụng webcam.

Kích thước webcam logietch c925e
Cao x Rộng x Sâu: 2,9 inch (73 mm) x 5,0 inch (126 mm) x 1,8 inch (45 mm)
Chiều dài cáp: 6 ft (1,83 m)
Trọng lượng: 6.0 oz (170 g)












