Cách cài đặt webcam Logitech C930e
Logitech C930e mang lại hình ảnh chất lượng cao đạt 1080p/30fps, khả năng zoom 4x và Công nghệ Rightlight 2 đem đến hình ảnh rõ ràng trong nhiều môi trường có điều kiện chiếu sáng khác nhau. Vậy cách cài đặt webcam Logitech C930e như thế nào? Hãy cùng tìm hiểu chi tiết trong bài viết dưới đây.
Cách cài đặt webcam Logitech C930e chi tiết nhất



1. Quy cách đóng gói Logitech C930e
- Webcam với cáp USB-A dài 5 ft (1,5 m)
- Màn trập riêng tư
- Tài liệu người dùng

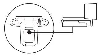
2. Cách lắp màn trập riêng tư Logitech C930e
- Gắn màn trập riêng tư bên ngoài bằng cách định vị ống kính trên webcam.

- Gắn nó vào mặt trước của webcam, trực tiếp qua trung tâm.

- Điều chỉnh thủ công màn trập riêng tư để mở hoặc đóng theo ý muốn.

3. Cách thiết lập webcam
Để đặt trên màn hình
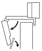
- Đặt webcam của bạn trên máy tính, máy tính xách tay hoặc màn hình ở vị trí hoặc góc độ mà bạn mong muốn.

- Điều chỉnh webcam để đảm bảo chân trên kẹp gắn đa năng nằm ngang với mặt sau thiết bị của bạn.

- Điều chỉnh webcam lên/ xuống theo cách thủ công đến vị trí tốt nhất để tạo khung hình cho chính bạn.

Để đặt trên giá ba chân *
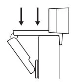
- Xác định vị trí sợi dây ba chân ¼ inch ở phía dưới cùng của kẹp gắn đa năng.

- Giữ chặt webcam trên giá ba chân của bạn bằng cách vặn nó vào sợi ¼ inch.

- Đặt webcam của bạn cùng với giá ba chân ở bất kỳ đâu bạn muốn đến vị trí tốt nhất để tạo khung hình cho chính mình.

* Không bao gồm chân máy
4. Kết nối webcam qua USB-A
Cắm đầu nối USB-A vào cổng USB-A trên máy tính của bạn.

5. Kết nối thành công
Đèn LED hoạt động sẽ sáng khi ứng dụng đang sử dụng webcam.

Kích thước Logitech C930e
Cao x Rộng x Sâu: 1,70 in (43,3 mm) x 3,70 in (94 mm) x 2,80 in (71 mm)
Chiều dài cáp: 5 ft (1,5 m)
Trọng lượng: 5,71 oz (162 g)












