Cách cài đặt camera Logitech Rally chi tiết
Camera Logitech Rally là camera video PTZ độc lập hàng đầu lý tưởng để hội họp video chuyên nghiệp trong các không gian họp mặt với mọi quy mô, từ phòng hội nghị cho tới cơ sở đào tạo, phòng họp và hội trường giảng dạy. Chất lượng video lên tới 4K Ultra-HD ở tốc độ 30 khung hình/giây, phạm vi quan sát 90° với khả năng quét ngang (± 90°) và nghiêng (+50°/-90°) cơ học. Khả năng kết nối USB cắm vào là hoạt động, thu phóng HD 15 lần không bị mất dữ liệu. Bài viết này sẽ hướng dẫn bạn cách cài đặt – thiết lập camera Logitech Rally chi tiết mới nhất.
Quy cách đóng gói camera Logitech Rally
Có gì trong hộp Logitech Rally camera: camera, camera mount, hộp chia điện, remote, bộ chia điện, bộ chuyển đổi nguồn điện, cáp usb, tài liệu.
| Camera | ![]() |
| Camera Mount | ![]() |
| Hộp chia điện | ![]() |
| Remote | ![]() |
| Bộ chia điện | ![]() |
| Bộ chuyển đổi nguồn điện | ![]() |
| Cáp USB | ![]() |
| Tài liệu | ![]() |
Giới thiệu các chi tiết trên camera Rally

1 – Nút ghép nối từ xa
2 – USB
3 – Đèn LED trạng thái
4 – Khe bảo mật
5 – MIPI
6 – Tripod Thread
7 – Khe mở rộng
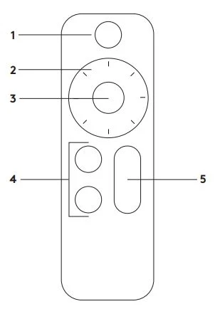
Giới thiệu các chi tiết trên thiết bị remote

1 – Tắt tiếng video
2 – Pan/Tilt
3 – Camera Home
4 – Camera Presets
5 – Zoom In/Out
Cách cài đặt camera Logitech Rally chi tiết
Cách kết nối camera Logitech Rally với máy tính
Việc kết nối camera Logitech Rally giống nhau cho dù bạn định sử dụng máy tính chuyên dụng trong phòng hay các thành viên trong nhóm của bạn mang máy tính xách tay đến phòng để điều hành cuộc họp.
- Cắm USB của bộ chia nguồn vào cổng USB của camera.

- Kết nối bộ đổi nguồn từ bộ chia điện với ổ cắm trên tường.

- Kết nối cáp USB từ bộ chia điện với máy tính của bạn.

- Đèn LED trạng thái sẽ nhấp nháy khi máy ảnh đang kết nối. Sau khi hoàn tất, đầu máy ảnh sẽ xoay.

Mount Your Camera
Chúng tôi cung cấp một số tùy chọn để lắp camera Logitech Rally của bạn. Đối với cuộc gọi điện video, chúng tôi khuyên bạn nên đặt camera càng gần tầm mắt càng tốt. Kết quả tốt nhất thường đến từ việc gắn bên dưới TV.
- Đặt trên bàn hoặc kệ gần TV.
- Gắn trên tường:
- Gắn giá treo tường vào tường. Vui lòng sử dụng loại vít thích hợp cho loại tường của bạn

- Lắp bộ chia nguồn vào hộp bộ chia nguồn và đi các dây cáp như hình minh họa

- Luồn dây USB qua lỗ ở dưới cùng của ngàm và kết nối với máy ảnh

- Chốt hộp bộ chia điện vào giá đỡ

- Cố định máy ảnh vào ngàm thông qua vít chân máy
- Gắn giá treo tường vào tường. Vui lòng sử dụng loại vít thích hợp cho loại tường của bạn
- Gắn vào TV: Giá treo TV tùy chọn.
Bắt đầu cuộc gọi video
Để bắt đầu một cuộc gọi video / phiên chụp, hãy khởi động ứng dụng bạn chọn và chọn camera Logitech Rally. Đèn LED trạng thái sẽ sáng khi video được phát trực tuyến.
PAN VÀ TILT
Nhấn một lần để chuyển động tăng dần hoặc nhấn và giữ để xoay và nghiêng liên tục.
Thận trọng: Đầu máy quay theo cách thủ công có thể làm hỏng thiết bị.
Bản lề máy ảnh
Thiết lập đến 2 vị trí đặt trước. Khi ở vị trí mong muốn, lưu giá trị đặt trước bằng cách nhấn và giữ nút trong 3 giây. Trở lại vị trí mong muốn bất kỳ lúc nào bằng cách nhấn nút một lần.
Home
Home sẽ là vị trí camera di chuyển đến khi khởi động camera. Lưu vị trí Màn hình chính mới bằng cách giữ nút trong 10 giây.
Ứng dụng cài đặt camera
Sử dụng chương trình này để điều khiển xoay máy ảnh, độ nghiêng, zoom, tiêu điểm và chất lượng hình ảnh (như độ sáng và độ tương phản). Phần mềm có thể được tải xuống từ www.logitech.com/support/rallycamera
RightSight
RightSight tự động di chuyển máy ảnh và điều chỉnh thu phóng để tạo khung hình thoải mái cho những người tham gia cuộc họp. RightSight có sẵn trên Windows 10 và macOS 10.14+. Để bật hoặc tắt RightSight, hãy tải xuống ứng dụng Logitech Sync. Nhấn các nút xoay, nghiêng hoặc zoom trên điều khiển từ xa sẽ tắt RightSight. Nhấn nút trang chủ sẽ khởi động lại RightSight.
Pairing the remote
Camera Logitech Rally và điều khiển từ xa của bạn được ghép nối tại nhà máy. Tuy nhiên, nếu bạn cần ghép nối điều khiển từ xa với camera (chẳng hạn như khi thay điều khiển từ xa bị mất), hãy làm như sau:
- Nhấn và giữ nút ở mặt sau của máy ảnh cho đến khi đèn LED nhấp nháy màu xanh lam.
- Nhấn và giữ nút Video Mute trên điều khiển từ xa trong 10 giây để đặt nó ở chế độ ghép nối.
- Khi điều khiển từ xa và máy ảnh được ghép nối, đèn LED sẽ ngừng nhấp nháy
- Nếu ghép nối không thành công, đèn LED sẽ tiếp tục nhấp nháy. Bắt đầu từ bước 2 và lặp lại.



















